Craftsman 32cc Weedwacker Carburetor Diagram Wiring Diagram Pictures

Carburetor Craftsman 32cc Weedwacker Fuel Line Diagram. 12+ craftsman 32cc weedwacker carburetor diagram ThierryMegan It also shows how these parts are interconnected, allowing you to understand how adjustments can affect the fuel-air mixture Over time, the fuel line can become worn or damaged, leading to fuel leaks or engine performance issues.

Craftsman Weedwacker Fuel Line Diagram Wiring Diagram
Craftsman Weedwacker Fuel Line Diagram Wiring Diagram from jumpstarterdiscount.blogspot.com

Use up fuel left in the carburetor by starting the en-gine and letting it run until it stops. • Move at least t0 feet (3 meters) away from fueling site before start-ing engine

Craftsman Weedwacker Fuel Line Diagram Wiring Diagram

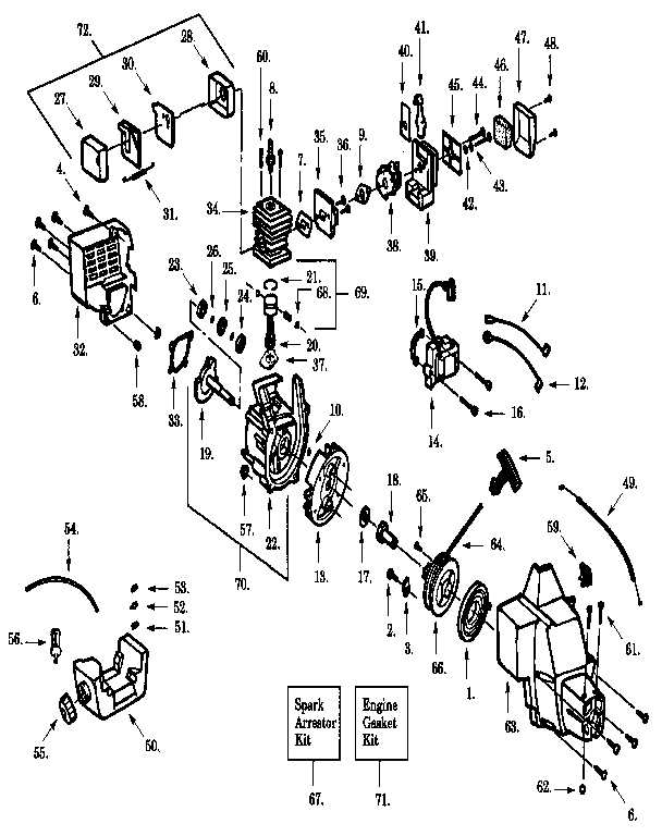
Stop engine and allow it to cool before removing fue{ cap Over time, the fuel line can become worn or damaged, leading to fuel leaks or engine performance issues. In this article, we will delve into the Craftsman 32cc Weed Wacker parts diagram and discuss its different sections and their functionalities

Craftsman Weedwacker Fuel Line Diagram Wiring Diagram Pictures. Where do the fuel lines go? How do they get routed? Which line does what? Which line connects to the fuel filter? This video will answer those questions.. The Craftsman 32cc weedwacker carburetor diagram displays the various components of the carburetor, such as the choke lever, throttle lever, fuel lines, and adjustment screws

45+ craftsman 32cc weedwacker carburetor diagram WladyslawSheree. In this article, we will delve into the Craftsman 32cc Weed Wacker parts diagram and discuss its different sections and their functionalities The Engine Section: This section of the parts diagram consists of various engine components such as the carburetor, spark plug, fuel lines, air filter, clutch, and muffler